Цілюща дія рухів на організм людини відома з давнини. Фізичні вправи з метою лікування, оздоровлення застосовували в стародавньому Римі, Греції та інших країнах світу. Зберігся вислів тих часів: “Якщо в тебе болить голова – перепливи річку”. Батько сучасної медицини Гіппократ застосовував натуральні (природні) фактори, і особливо радив водні процедури, купання. Його учень Асклепіад основою лікування вважав гімнастику, дієту, водні процедури.
Важливу роль в системі відновного лікування в наші дні відіграє лікувальна фізична культура (ЛФК).
В свою чергу кінезотерапія включає методи лікування, які ґрунтуються на останніх наукових дослідженнях в фізіології, біохімії, спортивній медицині, біомеханіці стосовно адаптаційних перебудов систем організму людини, функціональних і структурних змін м’язової, кісткової, з’єднувальної тканин під впливом фізичних навантажень певного об’єму та інтенсивності з урахуванням умов виконання рухової діяльності, спрямованості розвитку фізичних якостей, вихідного положення, траєкторії руху з застосуванням медичних тренажерів.
Кінезотракційна терапія – тракція в динамічному режимі –це поєднання кінезотерапаії і тракційної терапії лікувальної рухової діяльності та процедури витягнення. Складається з тренажерно-лікувальних засобів, для сухої – горизонтальної, вертикальної, підводної – горизонтальної, вертикальної тракції в поєднанні з можливістю виконання рухової діяльності під час витягнення, захищених патентами України. Тракція хребта під час рухової діяльності здійснюється різними системами витягнення для кожного відділу хребта з одночасним коригуючим впливом в потрібному напрямку на окремі сегменти. Відновлення рухових функцій відбувається в умовах полегшуючих виконання рухів, розвантаженості хребта.
Метод тракції хребта в динамічному режимі розроблений у 2002 р., захищений патентом України №48297 А61Н “Пристрій для підводного горизонтального витягнення хребта в динамічному режимі”. В подальшому розроблені конструкції для сухої горизонтальної тракції хребта в динамічному режимі “Пристрій для витяжки і корекції хребта в динамічному режимі” патент України №55483 А61Н, 2003 р., сухої вертикальної тракції хребта в динамічному режимі “Пристрій для фізичних тренувань” патент України №3994 А63В, 2004 р., “Тренажер Панаріна для тракції і корекції хребта в динамічному режимі” патент України №95723 А61Н, А61F, 20011 р.
Практично не існує хвороб не пов’язаних з порушенням кровообігу, а це в свою чергу викликає порушення обміну речовин, живлення тканин. Живлення кісткової тканини здійснюється через систему кровопостачання м’язової тканини. Таким чином, стан м’язової тканини, її кровопостачання визначають ефективність живлення кісткової тканини.
Суглоби, хребет, як набір суглобів, містять значну кількість хрящової тканини. Хрящова тканина не має системи кровопостачання, живлення її здійснюється за рахунок процесу дифузії. Умови ефективного протікання процесу дифузії є рухова діяльність, шляхом механічного впливу на хрящову тканину.
Динамічний режим стимулює роботу м’язової, кровоносної систем, створює умови для покращення функціонального стану, регенерації м’язової, кісткової, хрящової тканин, стимулює розвиток об’єму та еластичність з’єднанувальної тканини (Komi, 1984; Rutherford et al., 1986).
Горизонтальна тракція хребта здійснюється на тренажері Панаріна для тракції і корекції хребта в динамічному режимі патенту України №95723 А6Н1/02, А61F5/042. Тренажер містить: опори для рук - 1, розміщені на рамі - 2, валики - 3, закріплені на осі - 4, які мають можливість змінювати висоту розташування відносно рами - 2, на якій змонтовані, ремінь - 5, закріплений на пацієнті, зв'язаний за допомогою троса - 6, блоків - 7, закріплених на стійці - 8, з вантажем - 9, вантаж - 10, який за допомогою троса - 11, блока - 12, розміщеного на стійці - 13, зв'язаний з петлею Гліссона - 14, що закріплена на голові пацієнта.


Рис.
Тренажер Панаріна для тракції і корекції хребта в динамічному режимі

Рис.
Тракція хребта та нижніх кінцівок
з рухливими опорами для рук, фіксованими в переміщення спереду-назад
патент України №55483 А61Н 1/02 А61Н 33/00 “Пристрій для витяжки і корекції хребта в динамічному режимі”
Вертикальна тракція хребта в динамічному режимі здійснюється на тренажері патенту України №3994 А63В23/02, 22/02.
Рис.

Пристрій містить: привідну безкінечну рухому стрічку - 1, змонтовану на рамі - 2, навантажувальний засіб - 3, котрий з'єднаний за допомогою троса - 4, блоків - 5 з нагрудним поясом - 6, навантажувальний засіб - 7, зв'язаний за допомогою троса - 8, блоків - 9 з петлею Гліссона - 10, що закріплена на голові користувача, страховочний трос - 11.

Рис
Вертикальна тракція хребта з фіксацією пояса тросами

Рис
Вертикальна тракція хребта нижніх кінцівок з фіксацією стоп

Рис.
Вертикальна тракція з ротацією хребта, стопи фіксовані на диску

Рис.
Кінезитерапевтичний тренажер для тренувань в полегшуючих умовах.
Патент України №68091 А63В 23/02 А63В 22/00

Рис.
Кінезитерапевтичний тренажер, який мотивує рухову діяльність дітей, хворих на дитячій церебральний параліч.
Патент України №61140 А63В 23/02 А63В 22/00



Рис.
Кінезотерапевтичний тренажер для відновлення функцій вестибулярного апарату
Патент України №102134 А63В 22/00 26.10.2015
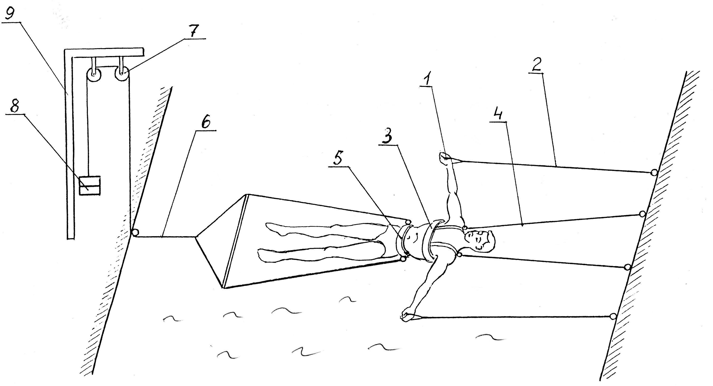
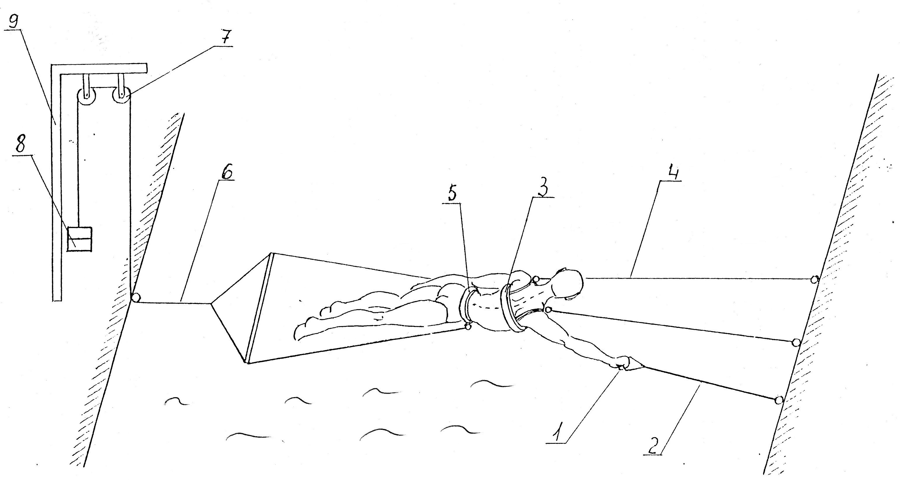
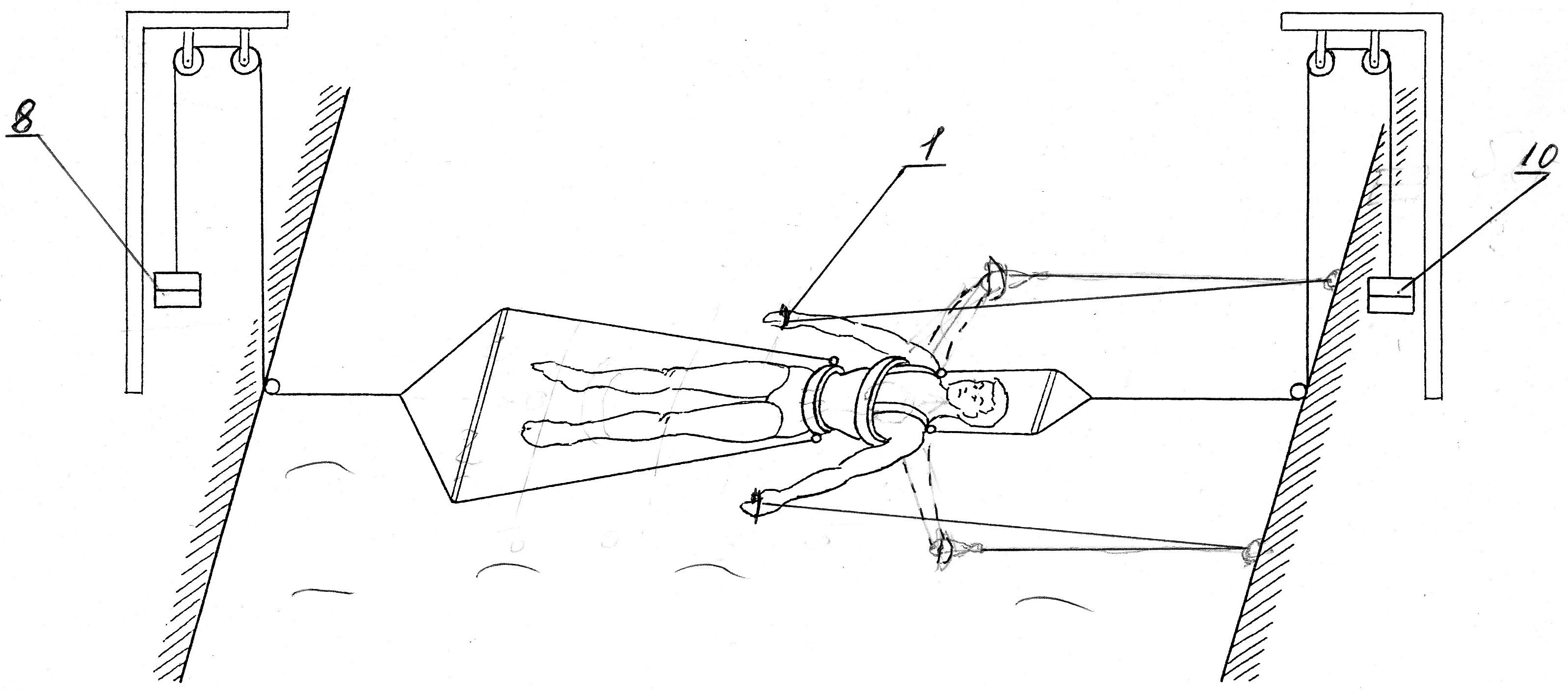
Підводна горизонтальна тракція в динамічному режимі здійснюється за допомогою конструкції, захищеної патентом України №48297 МПК А61Н 1/02, А61Н 33/00 “Пристрій для підводного горизонтального витягування хребта в динамічному режимі”.

Рис.
Пристрій для підводного горизонтального витягування хребта
в динамічному режимі

Рис.
Положення пацієнта на грудях

Рис.
Положення пацієнта на боці

Рис.
Тракція з двома протилежними системами витягнення

Рис.
Зміцнення м’язів нижніх кінцівок

Рис.
Зміцнення м’язового корсету і нижніх кінцівок

Рис.
Витягнення нижніх кінцівок

Рис.
Витягнення нижніх кінцівок, поперекового та грудного відділу хребта
Конструкція містить: опори для рук – 1, які зв’язані нееластичними шнурами – 2, з бортиком мікробасейну; нагрудний ліф – 3, зв’язаний лямками – 4 зі стінкою мікробасейну, тазовий пояс – 5, який за допомогою троса – 6, блоків – 7 зв’язаний з вантажем – 8, що закріплений на стійці – 9 на протилежному боці мікробасейну.
Конструкцію використовують наступним чином: пацієнт закріплений в мікробасейні в необхідному положенні: на спині, на грудях, на боці за допомогою нагрудного ліфу – 3 та лямок – 4, які зв’язані зі стінкою мікробасейну, а також тазового поясу – 5, який за допомогою троса – 6 і блоків – 7 зв’язаний з вантажем – 8, який закріплений на стійці – 9 на протилежному бортику мікробасейну, спираючись руками або рукою в опори – 1 пересувається вперед, піднімаючи вантаж – 8 вверх. Після закінчення руху тулуб пересувається назад, а вантаж опускається вниз. Цикл повторюється.
Підводна вертикальна тракція в динамічному режимі


Кінезотерапевтичний тренажер для підводної вертикальної тракції хребта в динамічному режимі
Свідоцтво про авторське право на науково-технічний твір №57664
від 17.12.2014